我公司出售高质量的氨基酸液、氨基酸原粉、氨基酸微量元素、eddha铁、螯合铁等并支持肥料产品的定制,欢迎来电,免费索取样品!

  • 公司地址
    中国,四川,成都
  • 联系电话
    18681783931

脂肪乳 氨基酸(高端三腔袋产品,科伦冲刺国内首款)

脂肪乳 氨基酸

四川科伦三腔袋

原创 君臣佐使 米内网

精彩内容

近日,国家药监局官网显示,四川科伦药业以仿制3类报产的中长链脂肪乳/氨基酸(16)/葡萄糖(30%)注射液进入行政审批阶段,该产品国内市场暂时空白。作为国内输液龙头企业,科伦药业猛攻肠外营养产品,目前已有12款产品获批上市。

高端三腔袋产品,科伦冲刺国内首款

来源:国家药监局官网

中长链脂肪乳/氨基酸(16)/葡萄糖(30%)注射液是一种“全合一”营养液输注方式,是国内外指南推荐的肠外营养输注模式,用于需要肠外营养支持的患者,如不能通过食管摄取食物或摄取不足的患者。

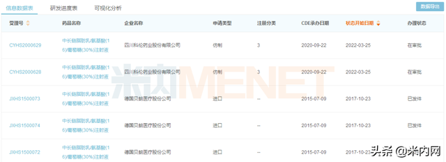
中长链脂肪乳/氨基酸(16)/葡萄糖(30%)注射液申报情况

高端三腔袋产品,科伦冲刺国内首款

来源:米内网新版数据库

中长链脂肪乳/氨基酸(16)/葡萄糖(30%)注射液国内市场暂时空白,四川科伦药业于2020年9月以新注册分类提交上市申请,为国产首家,如今进入行政审批阶段,有望拿下首仿。

作为国内输液龙头企业,科伦药业猛攻肠外营养产品,目前公司已获批的产品覆盖单袋(瓶)、双室袋、三腔袋等多种包装形式,差异化的产品配方可满足不同类型(肝功能受损、围手术期、危重症等)和不同能量需求患者的营养治疗。

科伦药业已获批上市的肠外营养新产品

高端三腔袋产品,科伦冲刺国内首款

来源:上市公司公告

12款产品中有4款为高端三腔袋产品,包括脂肪乳氨基酸(17)葡萄糖(11%)注射液、脂肪乳(10%)/氨基酸(15)/葡萄糖(20%)注射液、脂肪乳氨基酸(17)葡萄糖(19%)注射液及中长链脂肪乳/氨基酸(16)/葡萄糖(16%)注射液,而中长链脂肪乳/氨基酸(16)/葡萄糖(30%)注射液有望成为公司第5款获批的高端三腔袋产品。

除了中长链脂肪乳/氨基酸(16)/葡萄糖(30%)注射液,科伦药业以新分类报产且在审的高端三腔袋产品中,中长链脂肪乳/氨基酸(16)/葡萄糖(36%)注射液、ω-3鱼油中长链脂肪乳/氨基酸(16)/葡萄糖(36%)注射液、ω-3鱼油中长链脂肪乳/氨基酸(16)/葡萄糖(30%)注射液、ω-3鱼油中长链脂肪乳/氨基酸(16)/葡萄糖(16%)注射液等均有望拿下首仿。

来源:米内网数据库、国家药监局官网等

注:数据统计截至4月7日,如有疏漏,欢迎指正!

高端三腔袋产品,科伦冲刺国内首款,四川科伦三腔袋

蜀ICP备15013208号-3